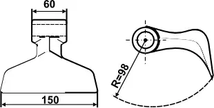
HB 119

Code HB 119
Blade Width 150mm
Clamping Width 60mm
Radius 98mm
Material Boron Steel
Hardness 40-45 HRC
Weight 1.900 Kg

Additional information

Code

HB199

Width

110mm

Weight

1.900kg